香港腕表价格交流群

谢惊鸿同学作品《一种多功能手表》喜获国家专利

2021-02-11 09:10:06

喜讯

瑞安中学学生谢惊鸿通过学习快乐发明,创新潜能得到有效开发,并获得国家实用新型专利。


一种多功能手表

发明人 | 谢惊鸿

浙江省瑞安中学

专利申请号:201521019159.4

指导师 | 任新年


1
背景技术

随着人们生活水平的提高,人们对质量的要求也越来越高,手表目前不只是作为一种计时工具,成年人或者学生基本是人手一块,对女士来说,手表还是一种装饰用品,女士会用手表当成饰品,既实用又时尚。但除此之外,人们并没有注意到手表还能有其他功能。


2
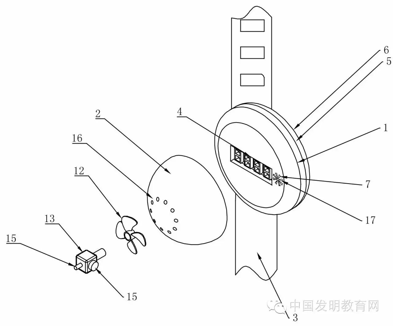
专利内容简述
本实用新型提供的多功能手表,融合温度计、湿度计、小风扇、空气清新剂等小物件,表盖的铰链结构可以利用手中的小风扇送风,满足了学生在闷热的教室上课的需要,达到舒适的目的,从而提高上课质量;温度计可以测量水温,使用时只需将手表靠近水杯,停留一段时间后,所述温度计会显示温度,从而判断水温是否适宜饮用;湿度计用于感知周围的湿度变化,满足人们高质量的生活方式;香水或花露水与小风扇配合使用,扩大花露水或香水的扩散范围,淡淡的味道在空气中散发,适用大部分场所。


3
附图说明
图1为本实用新型的具体的结构示意图。






本期编辑/池跃慧

投稿邮箱:850776699@qq.com(个人创意方案、创新教育见解均可)


想与快乐发明任新年老师直接沟通

你可添加微信:rxn285666333


更多内容,请关注【中国发明教育网】微信公众平台,输入【首页】两字,即可查看我们的微官网。

【转载申明】:本文章为中国发明教育网独创,版权归原作者所有!其他公众号转载需在文章开头注明文章来源。

中国发明教育网官方微信平台

微信公众账号:zgfmjyw

总服务台电话:010-57199808

电子邮箱:RXN3766@163.com

中国发明教育网网站地址:www.czfmw.com


↓↓↓ 点击"阅读原文" 【查看更多信息】



友情链接

Copyright © 2023 All Rights Reserved 版权所有 香港腕表价格交流群